


产品名片:
飞塔阀门生产的DS341X法兰式伸缩蝶阀具有自动补偿管道热胀冷缩方便装卸的功能,使用于温度在425℃以下,公称压力在1.6MPa以下的石油,化工、电力、造纸、给排水和市政建设等工业管道上作调节流量和载断流体的最佳装置。
蝶阀是用圆形蝶板作启闭件并随阀杆转动 来开启、关闭和调节流体通道的一种阀门。蝶阀的蝶板安装于管道的直径方向。在蝶阀阀体圆柱形通道内,圆盘形蝶板绕着轴线旋转,旋转角度为0°~90°之间,旋转到90°时,阀门则程全开状态。
蝶阀的结构特点 蝶阀具有结构简单、体积小、重量轻、材料耗用省,安装尺寸小,开关迅速、90°往复回转,驱动力矩小等特点,用于截断、接通、调节管路中的介质,具有良好的流体控制特性和关闭密封性能。蝶阀处于完全开启位置时,蝶板厚度是介质流经阀体时唯一的阻力,因此通过该阀门所产生的压力降很小,故具有较好的流量控制特性。蝶阀有弹密封和金属的密封两种密封型式。弹性密封阀门,密封圈可以镶嵌在阀体上或附在蝶板周边。 采用金属密封的阀门一般比弹性密封的阀门寿命长,但很难做到完全密封。金属密封能适应较高的工作温度,弹性密封则具有受温度限制的缺陷。 如果要求蝶阀作为流量控制使用,主要的是正确选择阀门的尺寸和类型。蝶阀的结构原理尤其适合制作大口径阀门。
蝶阀不仅在石油、煤气、化工、水处理等一般工业上得到广泛应用,而且还应用于热电站的冷却水系统。 常用的蝶阀有对夹式蝶阀、法兰式蝶阀、对焊式蝶阀三种。对夹式蝶阀是用双头螺栓将阀门连接在两管道法兰之间;法兰式蝶阀是阀门上带有法兰,用螺栓将阀门上两端法兰连接在管道法兰上;对焊式蝶阀的两端面与管道焊接连接。 蝶板的流线形设计,使流体阻力损失小,可谓是一种节能型产品。 阀杆为通杆结构,经过调质处理,有良好的综合力学性能和抗腐蚀性,抗擦伤性。蝶阀启闭时阀杆只作旋转运动而不作升降运行,阀杆的填料不易破坏,密封可靠。与蝶板锥销固定,外伸端为防冲出型设计,以免在阀杆与蝶板连接处意外断裂时阀杆崩出。
设计标准:
DS341X法兰式伸缩蝶阀设计与制造标准:
|
制造标准 |
JB/T8527-97、GB/T 122387-89 |
|
法兰标准 |
GB9113-2000、GB17241.6-1998 |
|
检验标准 |
GB/T 13927-92 |
性能规范:
DS341X法兰式伸缩蝶阀主要性能规范:
|
公称通经DN(mm) |
50~2000 |
50~1600 | ||
|
公称压力PN(MPa) |
0.6 |
1.0 |
1.6 | |
|
密封试验(MPa) |
0.66 |
1.1 |
1.76 | |
|
强度试验(MPa) |
0.9 |
1.5 |
2.4 | |
|
适用温度 |
软密封 |
X:-40℃~90℃;XF:-20℃~200℃ | ||
|
硬密封 |
碳钢:-29℃~425℃ 不锈钢-40℃~650℃ | |||
|
适用介质 |
DS341X法兰式伸缩蝶阀使用于水、空气、天然气、油品及弱腐蚀性流体 | |||
|
泄漏率 |
符合GB/T13927-92标准 | |||
|
驱动方式 |
蜗轮传动、电动、气动、液动 | |||
零件材料:
DS341X法兰式伸缩蝶阀主要零件材料:
|
零件名称 |
DS341X型伸缩蝶阀零件选用材料 |
|
阀体 |
WCB、QT450-10、不锈钢 |
|
蝶板 |
WCB、QT450-10、不锈钢 |
|
阀轴 |
2Cr13不锈钢 |
|
密封圈 |
橡胶 |
|
填料 |
柔性石墨 |
结构特点:
DS341X法兰式伸缩蝶阀主要结构特点:
1、结构独特,设计灵活,重量轻,省力,启闭迅速。
2、伸缩蝶阀不仅能补偿管道温差缩产生的热胀冷缩的功能,海能为维修阀门安装更换提供方便。
3、密封部位可调节更换,密封性能可靠。

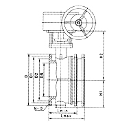
尺寸参数:
DS341X法兰式伸缩蝶阀主要尺寸参数:
|
规格 |
D |
D1 |
D2 |
Lmax |
Lmin |
H1 |
H2 |
N-Фd |
|
100 |
220 |
180 |
156 |
216 |
174 |
110 |
170 |
8-Ф18 |
|
125 |
250 |
210 |
184 |
232 |
186 |
123 |
182 |
8-Ф18 |
|
150 |
285 |
240 |
211 |
239 |
194 |
140 |
210 |
8-Ф22 |
|
200 |
340 |
295 |
266 |
264 |
214 |
170 |
238 |
8-Ф22 |
|
250 |
395 |
350 |
319 |
296 |
235 |
195 |
270 |
12-Ф22 |
|
300 |
445 |
400 |
370 |
300 |
250 |
222 |
300 |
12-Ф22 |
|
350 |
505 |
460 |
429 |
320 |
270 |
252 |
330 |
16-Ф22 |
|
400 |
565 |
515 |
480 |
332 |
282 |
285 |
368 |
16-Ф26 |
|
450 |
615 |
565 |
530 |
355 |
305 |
310 |
402 |
20-Ф26 |
|
500 |
670 |
620 |
582 |
365 |
315 |
337 |
438 |
20-Ф30 |
|
600 |
780 |
725 |
682 |
420 |
340 |
393 |
490 |
24-Ф30 |
|
700 |
895 |
840 |
794 |
446 |
396 |
450 |
558 |
24-Ф33 |
|
800 |
1015 |
950 |
901 |
476 |
426 |
515 |
625 |
28-Ф33 |
|
900 |
1115 |
1050 |
1001 |
506 |
456 |
560 |
685 |
28-Ф33 |
|
1000 |
1230 |
1160 |
1112 |
516 |
466 |
610 |
750 |
28-Ф36 |
|
1200 |
1455 |
1380 |
1328 |
560 |
510 |
725 |
880 |
32-Ф39 |
|
1400 |
1675 |
1590 |
1530 |
590 |
540 |
840 |
987 |
36-Ф42 |
|
1600 |
1915 |
1820 |
1750 |
630 |
585 |
960 |
1158 |
40-Ф48 |
|
1800 |
2115 |
2020 |
1950 |
680 |
630 |
1060 |
1258 |
44-Ф48 |
|
2000 |
2325 |
2230 |
2150 |
730 |
680 |
1165 |
1365 |
48-Ф48 |
订货须知:
1、①产品名称与型号②公称直径③阀体材质④公称压力⑤使用介质⑥连接方式⑦使用温度⑧是否带附件以便我们为您正确选型。
2、如有特殊要求时请在订购产品时注明
3、若已经由设计单位选定的型号,请按型号直接向我司销售部订购。
4、当使用的场合非常重要或环境比较复杂时,请您尽量提供设计图。
企业宣传:
上海飞塔阀门有限公司为阀门业界内的新兴企业,我司本着“更高质量的产品,更优势的价格,更人性化的服务”为企业宗旨,为广大客户倾情服务。上海飞塔专业生产各种规格阀门,产品主广泛用于石油、化工、冶金、电力、制药、给排水等行业,产品深受客服的青睐和好评。公司竭诚欢迎社会各界人士光临咨询,建立长期稳定的合作关系,携手共创辉煌的明天。

