


产品名片:
飞塔阀门生产的Q41F两片式法兰球阀的主要特点是本身结构紧凑,密封可靠,结构简单,维修方便,密封面与球面常在闭合状态,不易被介质冲蚀,易于操作和维修,适用于水、溶剂、酸和天然气等一般工作介质,而且还适用于工作条件恶劣的介质,如氧气、过氧化氢、甲烷和乙烯等,在各行业得到广泛的应用。
不锈钢两片式法兰球阀的球体是浮动的,在介质压力作用下,球体能产生一定的位移并紧压在出口端的密封面上,保证出口端密封。
结构特点:
两片式法兰球阀的主要特点是本身结构紧凑,密封可靠,结构简单,维修方便,密封面与球面常在闭合状态,不易被介质冲蚀,易于操作和维修,适用于水、溶剂、酸和天然气等一般工作介质,而且还适用于工作条件恶劣的介质,如氧气、过氧化氢、甲烷和乙烯等,在各行业得到广泛的应用。球阀阀体可以是整体的,也可以是组合式的。
球阀它具有旋转90度的动作,旋塞体为球体,有圆形通孔或通道通过其轴线。球阀在管路中主要用来做切断、分配和改变介质的流动方向,它只需要用旋转90度的操作和很小的转动力矩就能关闭严密。球阀最适宜做开关、切断阀使用,但近来的发展已将球阀设计成使它具有节流和控制流量之用,如V型球阀。
一、开启过程
1在关闭位置,球体受阀杆的机械施压作用,紧压在阀座上。
2当逆时针转动手轮时,阀杆则反向运动,其底部角形平面使球体脱开阀座。
3阀杆继续提升,并与阀杆螺旋槽内的导销相互作用,使球体开始无摩擦地旋转。
4直至到全开位置,阀杆提升到极限位置,球体旋转到全开位置。
二、关闭过程
1关闭时,顺时针旋转手轮,阀杆开始下降并使球体离开阀座开始旋转。
2继续旋转手轮,阀杆受到嵌于其上螺旋槽内的导销的作用,使阀杆和球体同时旋转90°。
3 快要关闭时,球体已在与阀座无接触的情况下旋转了90°。
4手轮转动的最后几圈,阀杆底部的角形平面机械地楔向压迫球体,使其紧密地压在阀座上,达到完全密封。
设计标准:
Q41F两片式法兰球阀设计与制造标准:
|
设计依据 |
国标系列 |
美标系列 | |
|
设计标准 |
GB/T12237 |
AP16D |
ANSI B16.34 |
|
法兰连接结构长度 |
GB/T12221 |
AP16D |
ANSI B16.10 |
|
结构长度(焊接) |
GB/T15188.1 |
AP16D |
ANSI B16.10 |
|
连接法兰 |
GB/T9113 |
ANSI B16.5、B16.47 | |
|
对焊端 |
GB/T12224 |
ASNI B16.25 | |
|
试验和检验 |
GB/T9092 |
AP16D |
AP1598 |
性能规范:
Q41F两片式法兰球阀主要性能规范:
产品型号:Q41F-16C
产品名称:国标软密封球阀
产品特征适用介质:水、气、油品、天然气和酸碳腐蚀性
介质适用温度:-196-350℃
驱动方式:手动、气动、电动、波动等
公称通径:DN15-250mm 1/2″-10″
|
压力等级 |
试验压力(MPa) | ||
|
公称压力(PN) |
磅级(Class) |
壳体试验 |
密封试验 |
|
1.0 |
- |
1.5 |
1.1 |
|
1.6 |
- |
2.5 |
1.76 |
|
2.5 |
- |
3.8 |
2.75 |
|
4.0 |
- |
6.0 |
4.4 |
|
6.4 |
- |
9.6 |
7.04 |
|
- |
150 |
3.0 |
2.2 |
|
- |
300 |
7.6 |
5.6 |
|
- |
600 |
15.0 |
11.0 |
|
- |
10K |
2.4 |
1.5 |
|
- |
20K |
5.8 |
4.0 |
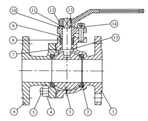
零件材料:
Q41F两片式法兰球阀主要零件材料:
|
序号NO. |
零件名称 |
材质 | |
|
GB |
ASTM | ||
|
1 |
阀体 |
WCB |
A216-WCB |
|
2 |
密封圈 |
PTFE |
PTFE |
|
3 |
球体 |
1Cr18Ni9Ti |
SS304 |
|
4 |
螺母 |
35 |
A194-2H |
|
5 |
螺柱 |
35CrMoA |
A193-B7 |
|
6 |
石体 |
WCB |
A216-WCB |
|
7 |
垫片 |
柔性石墨+不锈钢 |
B12.10-304/F.G |
|
8 |
填料 |
PTFE |
PTFE |
|
9 |
填料压盖 |
WCB |
A216-WCB |
|
0 |
定位片 |
25 |
A105 |
|
11 |
挡圈 |
65Mn |
AISI 1066 |
|
12 |
手柄 |
K33 |
A47-667 Gr.32510 |
|
13 |
阀杆 |
1Cr33 |
A276-410 |
|
14 |
螺钉 |
35 |
A193-B7 |
|
15 |
止推垫片 |
PTFE |
PTFE |
结构特点:
Q41F两片式法兰球阀主要结构特点:
1.流体阻力小,全通径的球阀基本没有流阻。
2.结构简单、体积小、重量轻。
3.紧密可靠。它有两个密封面,而且目前球阀的密封面材料广泛使用各种塑料,密封性好,能实现完全密封。在真空系统中也已广泛使用。
4.操作方便,开闭迅速,从全开到全关只要旋转90°,便于远距离的控制。
5.维修方便,球阀结构简单,密封圈一般都是活动的,拆卸更换都比较方便。
6.在全开或全闭时,球体和阀座的密封面与介质隔离,介质通过时,不会引起阀门密封面的侵蚀。
7.适用范围广,通径从小到几毫米,大到几米,从高真空至高压力都可应用。
8.由于球阀在启闭过程中有擦拭性,所以可用于带悬浮固体颗粒的介质中。
尺寸参数:
Q41F两片式法兰球阀主要尺寸参数:
国标软密封球阀PN1.6MPa主要连接尺寸及重量:
|
公称通径DN |
15 |
20 |
25 |
32 |
40 |
50 |
65 |
80 |
100 |
125 |
150 |
200 |
|
L |
130 |
140 |
150 |
165 |
180 |
200 |
220 |
250 |
280 |
320 |
360 |
400 |
|
H |
59 |
63 |
75 |
85 |
95 |
107 |
140 |
152 |
178 |
252 |
272 |
342 |
|
W |
130 |
130 |
160 |
180 |
230 |
230 |
400 |
400 |
650 |
1050 |
1050 |
1410 |
|
Wt(㎏) |
2.5 |
3 |
5 |
6 |
7 |
10 |
15 |
19 |
33 |
58 |
93 |
160 |
国标软密封球阀PN2.5MPa主要连接尺寸及重量:
|
公称通径DN |
15 |
20 |
25 |
32 |
40 |
50 |
65 |
80 |
100 |
125 |
150 |
200 |
|
L |
130 |
140 |
150 |
165 |
180 |
200 |
220 |
250 |
320 |
400 |
400 |
550 |
|
H |
59 |
63 |
75 |
97 |
107 |
142 |
152 |
178 |
252 |
272 |
342 |
345 |
|
W |
130 |
130 |
160 |
230 |
230 |
400 |
400 |
700 |
1100 |
1100 |
1500 |
1500 |
|
Wt(Kg) |
- |
- |
- |
- |
- |
- |
- |
- |
- |
- |
- |
- |
国标软密封球阀PN4.0MP主要连接尺寸及重量:
|
公称通径DN |
15 |
20 |
25 |
32 |
40 |
50 |
65 |
80 |
100 |
125 |
150 |
200 |
|
L |
130 |
140 |
150 |
180 |
200 |
220 |
250 |
280 |
320 |
400 |
400 |
550 |
|
H |
59 |
63 |
75 |
97 |
107 |
142 |
152 |
178 |
252 |
272 |
342 |
345 |
|
W |
130 |
130 |
160 |
230 |
230 |
400 |
400 |
700 |
1000 |
1100 |
1500 |
1800 |
|
Wt(Kg) |
- |
- |
- |
- |
- |
- |
- |
- |
- |
- |
- |
- |
国标软密封球阀PN6.4MPa主要连接尺寸及重量:
|
公称通径DN |
15 |
20 |
25 |
32 |
40 |
50 |
65 |
80 |
100 |
125 |
150 |
200 |
|
L |
165 |
190 |
216 |
229 |
241 |
292 |
330 |
356 |
432 |
408 |
559 |
660 |
|
H |
59 |
63 |
75 |
97 |
107 |
142 |
152 |
178 |
252 |
272 |
305 |
398 |
|
W |
130 |
130 |
160 |
230 |
230 |
400 |
400 |
700 |
1000 |
1100 |
1500 |
1800 |
|
Wt(Kg) |
- |
- |
- |
- |
- |
- |
- |
- |
- |
- |
- |
- |
国标软密封球阀PN10.0MPa主要连接尺寸及重量:
|
公称通径DN |
15 |
20 |
25 |
32 |
40 |
50 |
65 |
80 |
100 |
125 |
150 |
200 |
|
L |
165 |
190 |
216 |
229 |
241 |
292 |
330 |
356 |
432 |
508 |
559 |
660 |
|
H |
59 |
63 |
75 |
97 |
107 |
142 |
152 |
178 |
252 |
272 |
305 |
398 |
|
W |
130 |
130 |
160 |
230 |
230 |
400 |
400 |
700 |
1000 |
1100 |
1500 |
1800 |
|
Wt(Kg) |

订货须知:
1、①产品名称与型号②公称直径③阀体材质④公称压力⑤使用介质⑥连接方式⑦使用温度⑧是否带附件以便我们为您正确选型。
2、如有特殊要求时请在订购产品时注明
3、若已经由设计单位选定的型号,请按型号直接向我司销售部订购。
4、当使用的场合非常重要或环境比较复杂时,请您尽量提供设计图。
企业宣传:
上海飞塔阀门有限公司为阀门业界内的新兴企业,我司本着“更高质量的产品,更优势的价格,更人性化的服务”为企业宗旨,为广大客户倾情服务。上海飞塔专业生产各种规格阀门,产品主广泛用于石油、化工、冶金、电力、制药、给排水等行业,产品深受客服的青睐和好评。公司竭诚欢迎社会各界人士光临咨询,建立长期稳定的合作关系,携手共创辉煌的明天。

