


产品名片:
飞塔阀门生产的Q61F三片式活接对焊球阀主要特点是本身结构紧凑,密封可靠,结构简单,维修方便,密封面与球面常在闭合状态,不易被介质冲蚀,易于操作和维修,适用于水、溶剂、酸和天然气等一般工作介质,而且还适用于工作条件恶劣的介质,如氧气、过氧化氢、甲烷和乙烯等,在各行业得到广泛的应用。
三片式球阀具有以下优点:1.流体阻力小,其阻力系数与同长度的管段相等。2.结构简单、体积小、重量轻。3.紧密可靠,目前球阀的密封面材料广泛使用塑料、密封性好,在真空系统中也已广泛使用。4.操作方便,开闭迅速,从全开到全关只要旋转90°,便于远距离的控制。5.维修方便,球阀结构简单,密封圈一般都是活动的,拆卸更换都比较方便。6.在全开或全闭时,球体和阀座的密封面与介质隔离,介质通过时,不会引起阀门密封面的侵蚀。7.适用范围广,通径从小到几毫米,大到几米,从高真空至高压力都可应用。
球阀它具有旋转90度的动作,旋塞体为球体,有圆形通孔或通道通过其轴线。球阀在管路中主要用来做切断、分配和改变介质的流动方向,它只需要用旋转90度的操作和很小的转动力矩就能关闭严密。球阀最适宜做开关、切断阀使用,但近来的发展已将球阀设计成使它具有节流和控制流量之用,如V型球阀。
一、开启过程
1在关闭位置,球体受阀杆的机械施压作用,紧压在阀座上。
2当逆时针转动手轮时,阀杆则反向运动,其底部角形平面使球体脱开阀座。
3阀杆继续提升,并与阀杆螺旋槽内的导销相互作用,使球体开始无摩擦地旋转。
4直至到全开位置,阀杆提升到极限位置,球体旋转到全开位置。
二、关闭过程
1关闭时,顺时针旋转手轮,阀杆开始下降并使球体离开阀座开始旋转。
2继续旋转手轮,阀杆受到嵌于其上螺旋槽内的导销的作用,使阀杆和球体同时旋转90°。
3 快要关闭时,球体已在与阀座无接触的情况下旋转了90°。
4手轮转动的最后几圈,阀杆底部的角形平面机械地楔向压迫球体,使其紧密地压在阀座上,达到完全密封。
设计标准:
Q61F三片式活接对焊球阀设计与制造标准:
|
设计依据 |
国标系列 |
美标系列 | |
|
设计标准 |
GB/T12237 |
AP16D |
ANSI B16.34 |
|
法兰连接结构长度 |
GB/T12221 |
AP16D |
ANSI B16.10 |
|
结构长度(焊接) |
GB/T15188.1 |
AP16D |
ANSI B16.10 |
|
连接法兰 |
GB/T9113 |
ANSI B16.5、B16.47 | |
|
对焊端 |
GB/T12224 |
ASNI B16.25 | |
|
试验和检验 |
GB/T9092 |
AP16D |
AP1598 |
性能规范:
Q61F三片式活接对焊球阀主要性能规范:
适用介质:水、油、气及某些腐蚀液体
适用介质:水、油、气及某些腐蚀性液体(W.O.G)
适用稳定范围:-20~232℃~350℃
公称压力:1.6-6.4MPa
|
压力等级 |
试验压力(MPa) | ||
|
公称压力(PN) |
磅级(Class) |
壳体试验 |
密封试验 |
|
1.0 |
- |
1.5 |
1.1 |
|
1.6 |
- |
2.5 |
1.76 |
|
2.5 |
- |
3.8 |
2.75 |
|
4.0 |
- |
6.0 |
4.4 |
|
6.4 |
- |
9.6 |
7.04 |
|
- |
150 |
3.0 |
2.2 |
|
- |
300 |
7.6 |
5.6 |
|
- |
600 |
15.0 |
11.0 |
|
- |
10K |
2.4 |
1.5 |
|
- |
20K |
5.8 |
4.0 |
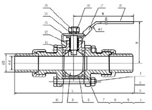
零件材料:
Q61F三片式活接对焊球阀主要零件材料:
|
序号 |
零件名称 |
材质 |
|
1 |
螺栓 |
不锈钢SS304 |
|
2 |
弹簧垫圈 |
不锈钢SS304 |
|
3 |
螺母 |
不锈钢SS304 |
|
4 |
阀盖 |
不锈钢CF8/CF8M |
|
5 |
螺母 |
不锈钢CF8 |
|
6 |
套管 |
不锈钢CF8 |
|
7 |
垫圈 |
聚四氟乙烯PTFE |
|
8 |
阀体 |
不锈钢CF8/CF8M |
|
9 |
球 |
不锈钢CF8 |
|
10 |
阀座 |
聚四氟乙烯PTFE |
|
11 |
阀杆 |
不锈钢SS316 |
|
12 |
填料 |
聚四氟乙烯PTFE |
|
13 |
压紧螺母 |
不锈钢SS304 |
|
14 |
手柄 |
不锈钢SS304 |
|
15 |
弹簧垫圈 |
不锈钢SS304 |
|
16 |
螺母 |
不锈钢SS304 |
|
17 |
锁片 |
不锈钢SS304 |
|
18 |
手柄套 |
塑料 |
结构特点:
Q61F三片式活接对焊球阀主要结构特点:
1.流体阻力小,全通径的球阀基本没有流阻。
2.结构简单、体积小、重量轻。
3.紧密可靠。它有两个密封面,而且目前球阀的密封面材料广泛使用各种塑料,密封性好,能实现完全密封。在真空系统中也已广泛使用。
4.操作方便,开闭迅速,从全开到全关只要旋转90°,便于远距离的控制。
5.维修方便,球阀结构简单,密封圈一般都是活动的,拆卸更换都比较方便。
6.在全开或全闭时,球体和阀座的密封面与介质隔离,介质通过时,不会引起阀门密封面的侵蚀。
7.适用范围广,通径从小到几毫米,大到几米,从高真空至高压力都可应用。
8.由于球阀在启闭过程中有擦拭性,所以可用于带悬浮固体颗粒的介质中。
尺寸参数:
Q61F三片式活接对焊球阀主要尺寸参数:
|
SIZE |
1/4″ |
3/8″ |
1/2″ |
3/4″ |
1″ |
1 1/4″ |
1 1/2″ |
2″ |
21/2″ |
3″ |
4″ |
|
D |
11.6 |
12.7 |
15 |
20 |
25 |
32 |
38 |
50 |
65 |
80 |
100 |
|
L |
68 |
68 |
72 |
82 |
90 |
112 |
120 |
145 |
185 |
210 |
268 |
|
H |
50 |
50 |
60 |
64 |
71 |
78 |
86 |
95 |
130 |
148 |
173 |
|
E |
100 |
100 |
130 |
130 |
165 |
165 |
190 |
190 |
250 |
250 |
280 |
|
F |
14.1 |
17.6 |
21.8 |
27.5 |
34.7 |
43.0 |
49.0 |
61.5 |
77.0 |
90.0 |
115.2 |
|
P |
10 |
10 |
10 |
13 |
13 |
16 |
16 |
18 |
18 |
20 |
20 |

订货须知:
1、①产品名称与型号②公称直径③阀体材质④公称压力⑤使用介质⑥连接方式⑦使用温度⑧是否带附件以便我们为您正确选型。
2、如有特殊要求时请在订购产品时注明
3、若已经由设计单位选定的型号,请按型号直接向我司销售部订购。
4、当使用的场合非常重要或环境比较复杂时,请您尽量提供设计图。
企业宣传:
上海飞塔阀门有限公司为阀门业界内的新兴企业,我司本着“更高质量的产品,更优势的价格,更人性化的服务”为企业宗旨,为广大客户倾情服务。上海飞塔专业生产各种规格阀门,产品主广泛用于石油、化工、冶金、电力、制药、给排水等行业,产品深受客服的青睐和好评。公司竭诚欢迎社会各界人士光临咨询,建立长期稳定的合作关系,携手共创辉煌的明天。

