


产品名片:
175H48Y(H)-200型空排止回阀主要用于火电厂给水泵出口处。配合水泵最小流量再循环阀工作,维持系统的安全运行。动作原理如下: 打开出口阀,给水泵启动,给水达到一定的压力后,阀芯自动升起,推离阀座,给水即流出。同时阀芯连杆拔动排空口阀片封闭排空口。当给水泵流量减小时,阀芯下落,推动连杆拔开排空阀片,开启再循环门维持水泵最小流量。当停泵时,阀芯自动下落关闭通道,从而防止高压水锤对给水系统的破坏。
启闭件靠介质流动和力量自行开启或关闭,以防止介质倒流的阀门叫止回阀。止回阀属于自动阀类,主要用于介质单向流动的管道上,只允许介质向一个方向流动,以防止发生事故。
设计标准:
175H48Y(H)-200型空排止回阀主要技术参数:
|
公称压力 PN/MPa |
工作压力 PN/MPa |
壳体试验压力 Ps/MPa |
工作温度/℃ |
适用介质 |
|
20.O |
20.O |
30.O |
≤160 |
水 |
零件材料:
175H48Y(H)-200型空排止回阀主要零件材料:
|
零件名称 |
材料 |
|
导向轴、拔叉、轴套、滑块、排放套、排气盘 |
不锈钢 |
|
阀体、定位轮、连接法兰、排气法兰、法兰盖 |
碳素铸钢 |
|
阀瓣、阀瓣体、阀瓣轴、连接叉、螺母 |
优质碳素钢 |
|
衬套 |
铸铝青铜 |
|
螺栓、螺柱 |
铬钼钢 |
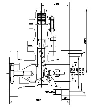
尺寸参数:

订货须知:
1、①产品名称与型号②公称直径③阀体材质④公称压力⑤使用介质⑥连接方式⑦使用温度⑧是否带附件以便我们为您正确选型。
2、如有特殊要求时请在订购产品时注明
3、若已经由设计单位选定的型号,请按型号直接向我司销售部订购。
4、当使用的场合非常重要或环境比较复杂时,请您尽量提供设计图。
企业宣传:
上海飞塔阀门有限公司为阀门业界内的新兴企业,我司本着“更高质量的产品,更优势的价格,更人性化的服务”为企业宗旨,为广大客户倾情服务。上海飞塔专业生产各种规格阀门,产品主广泛用于石油、化工、冶金、电力、制药、给排水等行业,产品深受客服的青睐和好评。公司竭诚欢迎社会各界人士光临咨询,建立长期稳定的合作关系,携手共创辉煌的明天。

