


产品名片:
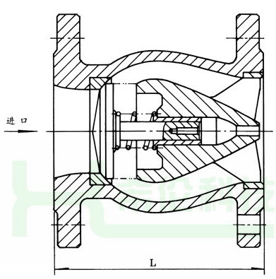
HC42T型静音止回阀由阀体、阀座、导流体、阀瓣、轴瓦及弹簧等零件组成。内部流道采用流线型设计,压力损失小,阀瓣启闭行程很短,停泵时可快速关闭,防止巨大的水锤声,形成静音效果。主要用于给水、排水、消防、暖通系统,可安装于水泵出口处,防止介质倒流及水锤对泵的损坏。
启闭件靠介质流动和力量自行开启或关闭,以防止介质倒流的阀门叫止回阀。止回阀属于自动阀类,主要用于介质单向流动的管道上,只允许介质向一个方向流动,以防止发生事故。
设计标准:
HC42T静音止回阀主要技术参数;
|
公称压力 |
1.0 |
1.6 |
2.5 |
|
最高工作压力 |
1.0 |
1.6 |
2.5 |
|
密封试验压力 |
1.1 |
1.76 |
2.75 |
|
壳体试验压力 |
1.5 |
2.4 |
3.75 |
|
适用介质 |
水 | ||
|
介质温度 |
X<80℃, T≤150℃, H≤200℃ | ||
零件材料:
HC42T静音止回阀主要零件材料;
|
HC42T型静音止回阀零件名称 |
材料 |
|
阀体、导流体 |
铸铁、铸钢 |
|
弹簧 |
不锈钢 |
|
阀座、轴瓦、阀瓣、轴 |
青铜或不锈钢 |
外形尺寸:
HC42T静音止回阀主要外形尺寸;
|
公称通径 |
L |
|
50 |
120 |
|
65 |
150 |
|
80 |
180 |
|
100 |
240 |
|
125 |
300 |
|
150 |
350 |
|
200 |
450 |
|
250 |
500 |
|
300 |
550 |
|
350 |
572 |
|
400 |
600 |
|
450 |
650 |
|
500 |
700 |
注:法兰连接尺寸:铁制阀门按GB4216.4(5)-84标准,钢制按GB/T9113.1-2000(RF)标准。

订货须知:
1、①产品名称与型号②公称直径③阀体材质④公称压力⑤使用介质⑥连接方式⑦使用温度⑧是否带附件以便我们为您正确选型。
2、如有特殊要求时请在订购产品时注明
3、若已经由设计单位选定的型号,请按型号直接向我司销售部订购。
4、当使用的场合非常重要或环境比较复杂时,请您尽量提供设计图。
企业宣传:
上海飞塔阀门有限公司为阀门业界内的新兴企业,我司本着“更高质量的产品,更优势的价格,更人性化的服务”为企业宗旨,为广大客户倾情服务。上海飞塔专业生产各种规格阀门,产品主广泛用于石油、化工、冶金、电力、制药、给排水等行业,产品深受客服的青睐和好评。公司竭诚欢迎社会各界人士光临咨询,建立长期稳定的合作关系,携手共创辉煌的明天。

