


产品名片:
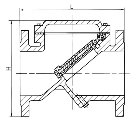
HC44X型橡胶瓣止回阀由阀体、阀盖、阀瓣和弹簧等组成,主要用于给排水系统、石油、化工等工业部门的管道出口处,防止介质逆流。由于本产品的封圈采用倾斜设计,关闭时间短,可减少水锤压力。HC44X止回阀阀瓣采用丁腈橡胶与钢板经高温压制而成,耐冲刷,密封性能好,产品结构简单、保养、维修、运输均很方便。
启闭件靠介质流动和力量自行开启或关闭,以防止介质倒流的阀门叫止回阀。止回阀属于自动阀类,主要用于介质单向流动的管道上,只允许介质向一个方向流动,以防止发生事故。
设计标准:
HC44X橡胶瓣止回阀主要技术参数;
|
公称压力 |
1.0 |
1.6 |
2.5 |
|
壳体试验压力 |
1.5 |
2.4 |
3.75 |
|
密封试验压力 |
1.1 |
1.76 |
2.75 |
|
介质温度 |
≤80℃ | ||
|
适用介质 |
清水、油品 | ||
零件材料:
HC44X橡胶瓣止回阀主要零件材料:
|
弹簧 |
不锈钢 |
|
阀体、阀盖 |
铸铁、铸钢 |
|
阀瓣 |
橡胶组合件 |
外形尺寸:
HC44X橡胶瓣止回阀主要外形尺寸:
|
公称通径 |
L |
H |
|
40 |
165 |
165 |
|
50 |
203 |
165 |
|
65 |
216 |
185 |
|
80 |
241 |
200 |
|
100 |
292 |
220 |
|
125 |
330 |
280 |
|
150 |
356 |
285 |
|
200 |
495 |
340 |
|
250 |
622 |
395 |
|
300 |
698 |
445 |
|
350 |
787 |
505 |
|
400 |
914 |
565 |
|
450 |
978 |
615 |
|
500 |
978 |
670 |
|
600 |
1295 |
780 |

订货须知:
1、①产品名称与型号②公称直径③阀体材质④公称压力⑤使用介质⑥连接方式⑦使用温度⑧是否带附件以便我们为您正确选型。
2、如有特殊要求时请在订购产品时注明
3、若已经由设计单位选定的型号,请按型号直接向我司销售部订购。
4、当使用的场合非常重要或环境比较复杂时,请您尽量提供设计图。
企业宣传:
上海飞塔阀门有限公司为阀门业界内的新兴企业,我司本着“更高质量的产品,更优势的价格,更人性化的服务”为企业宗旨,为广大客户倾情服务。上海飞塔专业生产各种规格阀门,产品主广泛用于石油、化工、冶金、电力、制药、给排水等行业,产品深受客服的青睐和好评。公司竭诚欢迎社会各界人士光临咨询,建立长期稳定的合作关系,携手共创辉煌的明天。

