


产品名片:
AS型汽水分离器,是利用蒸汽流向急剧转换方式、将蒸汽和蒸汽中含有的悬浮状水滴分离开,提高了产品质量和生产效率。
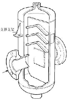
本产品是挡板式分离器用于分离蒸汽、压缩空气及其它气体系统中内含的液滴,配上绝热套可提高分离器的工作性能。
大量含水的蒸汽进入汽水分离器,并在其中以离心向下倾斜式运动。夹带的水份由于速度的降低而被分离出来。被分离出来的液体流入下部经疏水阀排出体外,干燥清洁的蒸汽从分离器出口排出。
性能规范:
AS型汽水分离器主要性能规范:
|
口径(mm) |
设计压力(MPa) |
设计温度(℃) |
最大冷态测试压力(MPa) | |
|
工厂 |
现场 | |||
|
DN150 |
1.6 |
250 |
2.57 |
2.30 |
|
DN250 |
1.6 |
250 |
2.27 |
2.10 |
零件材料:
AS型汽水分离器主要零件材料:
|
型号 |
材质 |
压力等级 |
口径(mm) |
连接方式 |
|
AS |
不锈钢/碳钢 |
PN16 |
DN15-150 |
法兰 |
|
不锈钢/碳钢 |
PN16 |
DN200-350 |
法兰 |
尺寸参数:
AS型汽水分离器主要尺寸参数:
|
Size |
Desgin pressure(MPa) |
Extermal dimensions(mm)外型尺寸 |
Weight(Kg) |
Voulume(L) | |||||||||
|
A |
B |
C |
D |
E |
F |
G |
H |
I |
J | ||||
|
DN65 |
1.6 |
420 |
250 |
640 |
219 |
160 |
1” |
3/4” |
100 |
265 |
30 |
46.5 |
18 |
|
2.5 |
420 |
250 |
640 |
219 |
160 |
1” |
3/4” |
100 |
265 |
30 |
49 |
18 | |
|
DN80 |
1.6 |
525 |
330 |
735 |
273 |
145 |
2” |
3/4” |
125 |
370 |
30 |
80 |
33 |
|
2.5 |
525 |
330 |
735 |
273 |
145 |
2” |
3/4” |
125 |
370 |
30 |
88 |
33 | |
|
DN100 |
1.6 |
575 |
335 |
795 |
324 |
165 |
2” |
3/4” |
125 |
385 |
40 |
98 |
50 |
|
2.5 |
575 |
335 |
795 |
324 |
165 |
2” |
3/4” |
125 |
385 |
40 |
106 |
50 | |
|
DN125 |
1.6 |
656 |
312 |
845 |
356 |
230 |
2” |
3/4” |
150 |
415 |
44 |
115 |
67 |
|
3.0 |
656 |
312 |
845 |
356 |
230 |
2” |
3/4” |
150 |
415 |
44 |
134 |
67 | |
|
DN150 |
1.6 |
706 |
345 |
935 |
406 |
245 |
2” |
3/4” |
150 |
465 |
60 |
154 |
96 |
|
3.0 |
706 |
345 |
935 |
406 |
245 |
2” |
3/4” |
150 |
465 |
60 |
172 |
96 | |
|
DN200 |
0.6 |
850 |
465 |
1200 |
500 |
375 |
2” |
2” |
175 |
560 |
60 |
275 |
185 |
|
1.6 |
850 |
465 |
1200 |
500 |
375 |
2” |
2” |
175 |
560 |
60 |
280 |
185 | |
|
3.0 |
858 |
460 |
1200 |
508 |
375 |
2” |
2” |
175 |
565 |
60 |
280 |
230 | |
|
DN250 |
0.6 |
950 |
615 |
1580 |
600 |
532 |
2” |
2” |
175 |
685 |
72 |
475 |
335 |
|
1.6 |
950 |
615 |
1580 |
600 |
532 |
2” |
2” |
175 |
685 |
72 |
475 |
335 | |
|
3.0 |
960 |
615 |
1580 |
610 |
532 |
2” |
2” |
175 |
695 |
72 |
475 |
333 | |
|
DN300 |
0.6 |
1000 |
740 |
1700 |
600 |
542 |
2” |
2” |
200 |
685 |
72 |
500 |
330 |
|
1.6 |
1000 |
740 |
1700 |
600 |
542 |
2” |
2” |
200 |
685 |
72 |
500 |
330 | |
|
3.0 |
1010 |
740 |
1700 |
610 |
542 |
2” |
2” |
200 |
695 |
72 |
500 |
330 | |
|
DN350 |
0.6/1.6/3.0 |
1100 |
755 |
1800 |
700 |
526 |
2” |
2” |
200 |
815 |
108 |
550 |
535 |


结构特点:
AS型汽水分离器主要结构特点:
最高分离效率(干燥度可达到 98 % )最低压降(约为千分之五);结构按容器规范设计。汽水分离器为容器结构碳钢或不锈钢设备。对蒸汽中含有空气的情况,汽水分离器上部设计了排空气口。

安装说明:
AS型汽水分离器安装:
1、安装在水平管道上排水口垂直朝下。所有口径的分离器都配有安装支架减少管道承载,每个支架上有两个钻好的孔。
2、为了保证分离器液体尽快排走,排液口必须要连接合适的排液阀或蒸汽疏水阀。
3、对空气中含有空气的情况,空气聚集在分离器上部。这种情况下将合适的排空阀安装在排空气口。
4、如果不安装排空阀,必须拿掉塑料保护套,装上class3000lb的碳钢旋塞。
订货须知:
1、①产品名称与型号②公称直径③阀体材质④公称压力⑤使用介质⑥连接方式⑦使用温度⑧是否带附件以便我们为您正确选型。
2、如有特殊要求时请在订购产品时注明
3、若已经由设计单位选定的型号,请按型号直接向我司销售部订购。
4、当使用的场合非常重要或环境比较复杂时,请您尽量提供设计图。
企业宣传:
上海飞塔阀门有限公司为阀门业界内的新兴企业,我司本着“更高质量的产品,更优势的价格,更人性化的服务”为企业宗旨,为广大客户倾情服务。上海飞塔专业生产各种规格阀门,产品主广泛用于石油、化工、冶金、电力、制药、给排水等行业,产品深受客服的青睐和好评。公司竭诚欢迎社会各界人士光临咨询,建立长期稳定的合作关系,携手共创辉煌的明天。

